Доставка
Контакты
0
Список понравившихся изделий
Запчасти
Запчасти
0
Toggle navigation
0
Запчасти
Продукция
Газонокосилки бензиновые Штиль
Бензопилы Штиль
Бензокосы Штиль
Аэратор (скарификатор) Штиль
Электротриммеры Штиль
Газонокосилки электрические Штиль
Воздуходувы Штиль
Садовые измельчители Штиль
Электропилы Штиль
Садовые трактора Штиль
Ножницы садовые Штиль
МультиМотор ММ 56 Штиль
КомбиМотор Штиль
Опрыскиватели Штиль
Аккумуляторная техника Штиль
Культиваторы Штиль
Мойки высокого давления Штиль
Высоторезы Штиль
Газонокосилка робот Штиль
Подметальное устройство Штиль
Пылесосы Штиль
Мотобур Штиль
Бензорезы Штиль
Расходные материалы Штиль
Акции
Покупателю
Сервис
Доставка
Контакты
Главная страница
Каталог запчастей
Каталог запчастей STIHL (запчасти по России и СПБ) ремонт, запчасти, сервисное обслуживание.
Бензорезы Штиль запчасти ремонт, запчасти, сервисное обслуживание.
TS 360 | Бензорез STIHL | Запчасти ремонт, запчасти, сервисное обслуживание.
Ремонт бензореза | резчика Штиль TS 360 в СПБ | Сервисная диагностика Stihl бесплатно | ремонт, запчасти, сервисное обслуживание.
Назад
Ремонт бензореза | резчика Штиль TS 360 в СПБ | Сервисная диагностика Stihl бесплатно |
1 | Картер | TS 360 | Бензорез STIHL | Запчасти по России | Сервисное обслуживание
Увеличить
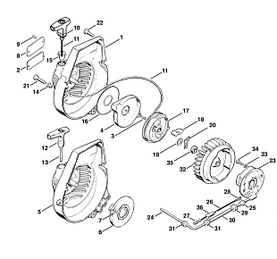
2 | Цилиндр - Шумоглушитель | TS 360 | Бензорез STIHL | Запчасти по России | Сервисное обслуживание
Увеличить
3 | Mуфта - Всасывающая головка | TS 360 | Бензорез STIHL | Запчасти по России | Сервисное обслуживание
Увеличить
4 | Пуск. устр. (Защёлка) - Система зажигания (электрон.) | TS 360 | Бензорез STIHL | Запчасти по России | Сервисное обслуживание
Увеличить
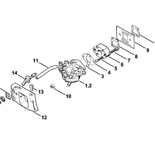
5 | Карбюратор - Переходная деталь | TS 360 | Бензорез STIHL | Запчасти по России | Сервисное обслуживание
Увеличить
6 | Карбюратор LA-S168 | TS 360 | Бензорез STIHL | Запчасти по России | Сервисное обслуживание
Увеличить
7 | Карбюратор HL-327 | TS 360 | Бензорез STIHL | Запчасти по России | Сервисное обслуживание
Увеличить
8 | Корпус фильтра - Воздушный фильтр | TS 360 | Бензорез STIHL | Запчасти по России | Сервисное обслуживание
Увеличить
9 | Рама рукоятки - Трубчатая рукоятка | TS 360 | Бензорез STIHL | Запчасти по России | Сервисное обслуживание
Увеличить
10 | Подшипник с защитой | TS 360 | Бензорез STIHL | Запчасти по России | Сервисное обслуживание
Увеличить
11 | Присоединение воды | TS 360 | Бензорез STIHL | Запчасти по России | Сервисное обслуживание
Увеличить
12 | Направляющая тележка - Грязеотделитель | TS 360 | Бензорез STIHL | Запчасти по России | Сервисное обслуживание
Увеличить
13 | Направляющая тележка | TS 360 | Бензорез STIHL | Запчасти по России | Сервисное обслуживание
Увеличить
14 | Ограничитель глубины реза - Направляющая тележка | TS 360 | Бензорез STIHL | Запчасти по России | Сервисное обслуживание
Увеличить
15 | Резервуар для воды - Направляющая тележка | TS 360 | Бензорез STIHL | Запчасти по России | Сервисное обслуживание
Увеличить
16 | Напорный резерувар для воды | TS 360 | Бензорез STIHL | Запчасти по России | Сервисное обслуживание
Увеличить
17 | Напорный резерувар для воды (28.2010) | TS 360 | Бензорез STIHL | Запчасти по России | Сервисное обслуживание
Увеличить
18 | Инструмент | TS 360 | Бензорез STIHL | Запчасти по России | Сервисное обслуживание
Увеличить
19 | Подшипник с защитой (38.1995) | TS 360 | Бензорез STIHL | Запчасти по России | Сервисное обслуживание
Увеличить
20 | Присоединение воды (38.1995) | TS 360 | Бензорез STIHL | Запчасти по России | Сервисное обслуживание
Увеличить
21 | Напорный резерувар для воды (23.1996) | TS 360 | Бензорез STIHL | Запчасти по России | Сервисное обслуживание
Увеличить
STIHL масло, смазка, канистра для бензореза | Штиль TS 360 | Магазин - Сервис
Увеличить
Ремонт бензореза | резчика Штиль TS 360 в СПБ | Сервисная диагностика Stihl бесплатно |
Увеличить
Показать все схемы
Сервис
Официальный сервис
Доставка
Доставка по России
Запчасти
Оригинальные запчасти
Скидки
Для сервисных центров
Ремонт бензореза | резчика Штиль TS 360 в СПБ | Сервисная диагностика Stihl бесплатно |
1 | Картер | TS 360 | Бензорез STIHL | Запчасти по России | Сервисное обслуживание
2 | Цилиндр - Шумоглушитель | TS 360 | Бензорез STIHL | Запчасти по России | Сервисное обслуживание
3 | Mуфта - Всасывающая головка | TS 360 | Бензорез STIHL | Запчасти по России | Сервисное обслуживание
4 | Пуск. устр. (Защёлка) - Система зажигания (электрон.) | TS 360 | Бензорез STIHL | Запчасти по России | Сервисное обслуживание
5 | Карбюратор - Переходная деталь | TS 360 | Бензорез STIHL | Запчасти по России | Сервисное обслуживание
6 | Карбюратор LA-S168 | TS 360 | Бензорез STIHL | Запчасти по России | Сервисное обслуживание
7 | Карбюратор HL-327 | TS 360 | Бензорез STIHL | Запчасти по России | Сервисное обслуживание
8 | Корпус фильтра - Воздушный фильтр | TS 360 | Бензорез STIHL | Запчасти по России | Сервисное обслуживание
9 | Рама рукоятки - Трубчатая рукоятка | TS 360 | Бензорез STIHL | Запчасти по России | Сервисное обслуживание
10 | Подшипник с защитой | TS 360 | Бензорез STIHL | Запчасти по России | Сервисное обслуживание
11 | Присоединение воды | TS 360 | Бензорез STIHL | Запчасти по России | Сервисное обслуживание
12 | Направляющая тележка - Грязеотделитель | TS 360 | Бензорез STIHL | Запчасти по России | Сервисное обслуживание
13 | Направляющая тележка | TS 360 | Бензорез STIHL | Запчасти по России | Сервисное обслуживание
14 | Ограничитель глубины реза - Направляющая тележка | TS 360 | Бензорез STIHL | Запчасти по России | Сервисное обслуживание
15 | Резервуар для воды - Направляющая тележка | TS 360 | Бензорез STIHL | Запчасти по России | Сервисное обслуживание
16 | Напорный резерувар для воды | TS 360 | Бензорез STIHL | Запчасти по России | Сервисное обслуживание
17 | Напорный резерувар для воды (28.2010) | TS 360 | Бензорез STIHL | Запчасти по России | Сервисное обслуживание
18 | Инструмент | TS 360 | Бензорез STIHL | Запчасти по России | Сервисное обслуживание
19 | Подшипник с защитой (38.1995) | TS 360 | Бензорез STIHL | Запчасти по России | Сервисное обслуживание
20 | Присоединение воды (38.1995) | TS 360 | Бензорез STIHL | Запчасти по России | Сервисное обслуживание
21 | Напорный резерувар для воды (23.1996) | TS 360 | Бензорез STIHL | Запчасти по России | Сервисное обслуживание
STIHL масло, смазка, канистра для бензореза | Штиль TS 360 | Магазин - Сервис
Ремонт бензореза | резчика Штиль TS 360 в СПБ | Сервисная диагностика Stihl бесплатно |
№