Доставка
Контакты
0
Список понравившихся изделий
Запчасти
Запчасти
0
Toggle navigation
0
Запчасти
Продукция
Газонокосилки бензиновые Штиль
Бензопилы Штиль
Бензокосы Штиль
Аэратор (скарификатор) Штиль
Электротриммеры Штиль
Газонокосилки электрические Штиль
Воздуходувы Штиль
Садовые измельчители Штиль
Электропилы Штиль
Садовые трактора Штиль
Ножницы садовые Штиль
МультиМотор ММ 56 Штиль
КомбиМотор Штиль
Опрыскиватели Штиль
Аккумуляторная техника Штиль
Культиваторы Штиль
Мойки высокого давления Штиль
Высоторезы Штиль
Газонокосилка робот Штиль
Подметальное устройство Штиль
Пылесосы Штиль
Мотобур Штиль
Бензорезы Штиль
Расходные материалы Штиль
Акции
Покупателю
Сервис
Доставка
Контакты
Главная страница
Каталог запчастей
Каталог запчастей STIHL (запчасти по России и СПБ) ремонт, запчасти, сервисное обслуживание.
Бензопила Stihl запчасти ремонт, запчасти, сервисное обслуживание.
MS 210 | Бензопила STIHL | Запчасти ремонт, запчасти, сервисное обслуживание.
Заточка цепи | для бензопилы Штиль MS 210 в СПБ | Сервисная диагностика Stihl бесплатно | ремонт, запчасти, сервисное обслуживание.
Назад
Заточка цепи | для бензопилы Штиль MS 210 в СПБ | Сервисная диагностика Stihl бесплатно |
1 | Поршневая группа | MS 210 | Бензиномоторные пилы STIHL | Запчасти по России | Ремонт
Увеличить
2 | Картер двигателя | MS 210 | Бензиномоторные пилы STIHL | Запчасти по России | Ремонт
Увеличить
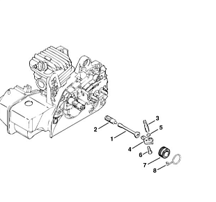
3 | Mасляный насос | MS 210 | Бензиномоторные пилы STIHL | Запчасти по России | Ремонт
Увеличить
4 | Mуфта | MS 210 | Бензиномоторные пилы STIHL | Запчасти по России | Ремонт
Увеличить
5 | Устройство для защиты рук - Тормоз пильной цепи | MS 210 | Бензиномоторные пилы STIHL | Запчасти по России | Ремонт
Увеличить
6 | Шумоглушитель | MS 210 | Бензиномоторные пилы STIHL | Запчасти по России | Ремонт
Увеличить
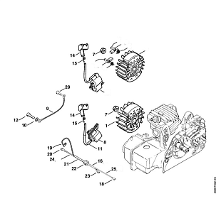
7 | Система зажигания | MS 210 | Бензиномоторные пилы STIHL | Запчасти по России | Ремонт
Увеличить
8 | Корпус вентилятора с пусковым устройством | MS 210 | Бензиномоторные пилы STIHL | Запчасти по России | Ремонт
Увеличить
9 | Воздушный фильтр | MS 210 | Бензиномоторные пилы STIHL | Запчасти по России | Ремонт
Увеличить
10 | Корпус рукоятки | MS 210 | Бензиномоторные пилы STIHL | Запчасти по России | Ремонт
Увеличить
11 | Карбюратор C1Q-100335, C1Q-S86 | MS 210 | Бензиномоторные пилы STIHL | Запчасти по России | Ремонт
Увеличить
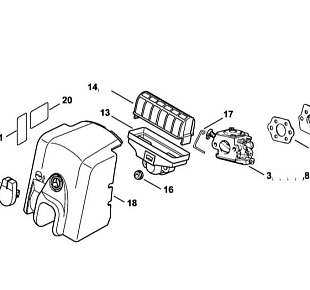
12 | Карбюратор WT-215, WT-286 | MS 210 | Бензиномоторные пилы STIHL | Запчасти по России | Ремонт
Увеличить
13 | Инструмент - Принадлежности | MS 210 | Бензиномоторные пилы STIHL | Запчасти по России | Ремонт
Увеличить
14 | Заводской номер агрегата | MS 210 | Бензиномоторные пилы STIHL | Запчасти по России | Ремонт
Увеличить
Шина, цепь для бензопилы Штиль | MS 210 | STIHL |
Увеличить
STIHL масло, смазка, канистра для бензопилы | мотопилы Штиль MS 210 | Магазин - Сервис
Увеличить
Ремонт бензопилы | пилы Штиль MS 210 в СПБ | Сервисная диагностика Stihl бесплатно |
Увеличить
Заточка цепи | для бензопилы Штиль MS 210 в СПБ | Сервисная диагностика Stihl бесплатно |
Увеличить
Показать все схемы
Сервис
Официальный сервис
Доставка
Доставка по России
Запчасти
Оригинальные запчасти
Скидки
Для сервисных центров
Заточка цепи | для бензопилы Штиль MS 210 в СПБ | Сервисная диагностика Stihl бесплатно |
1 | Поршневая группа | MS 210 | Бензиномоторные пилы STIHL | Запчасти по России | Ремонт
2 | Картер двигателя | MS 210 | Бензиномоторные пилы STIHL | Запчасти по России | Ремонт
3 | Mасляный насос | MS 210 | Бензиномоторные пилы STIHL | Запчасти по России | Ремонт
4 | Mуфта | MS 210 | Бензиномоторные пилы STIHL | Запчасти по России | Ремонт
5 | Устройство для защиты рук - Тормоз пильной цепи | MS 210 | Бензиномоторные пилы STIHL | Запчасти по России | Ремонт
6 | Шумоглушитель | MS 210 | Бензиномоторные пилы STIHL | Запчасти по России | Ремонт
7 | Система зажигания | MS 210 | Бензиномоторные пилы STIHL | Запчасти по России | Ремонт
8 | Корпус вентилятора с пусковым устройством | MS 210 | Бензиномоторные пилы STIHL | Запчасти по России | Ремонт
9 | Воздушный фильтр | MS 210 | Бензиномоторные пилы STIHL | Запчасти по России | Ремонт
10 | Корпус рукоятки | MS 210 | Бензиномоторные пилы STIHL | Запчасти по России | Ремонт
11 | Карбюратор C1Q-100335, C1Q-S86 | MS 210 | Бензиномоторные пилы STIHL | Запчасти по России | Ремонт
12 | Карбюратор WT-215, WT-286 | MS 210 | Бензиномоторные пилы STIHL | Запчасти по России | Ремонт
13 | Инструмент - Принадлежности | MS 210 | Бензиномоторные пилы STIHL | Запчасти по России | Ремонт
14 | Заводской номер агрегата | MS 210 | Бензиномоторные пилы STIHL | Запчасти по России | Ремонт
Шина, цепь для бензопилы Штиль | MS 210 | STIHL |
STIHL масло, смазка, канистра для бензопилы | мотопилы Штиль MS 210 | Магазин - Сервис
Ремонт бензопилы | пилы Штиль MS 210 в СПБ | Сервисная диагностика Stihl бесплатно |
Заточка цепи | для бензопилы Штиль MS 210 в СПБ | Сервисная диагностика Stihl бесплатно |
№