Доставка
Контакты
0
Список понравившихся изделий
Запчасти
Запчасти
0
Toggle navigation
0
Запчасти
Продукция
Газонокосилки бензиновые Штиль
Бензопилы Штиль
Бензокосы Штиль
Аэратор (скарификатор) Штиль
Электротриммеры Штиль
Газонокосилки электрические Штиль
Воздуходувы Штиль
Садовые измельчители Штиль
Электропилы Штиль
Садовые трактора Штиль
Ножницы садовые Штиль
МультиМотор ММ 56 Штиль
КомбиМотор Штиль
Опрыскиватели Штиль
Аккумуляторная техника Штиль
Культиваторы Штиль
Мойки высокого давления Штиль
Высоторезы Штиль
Газонокосилка робот Штиль
Подметальное устройство Штиль
Пылесосы Штиль
Мотобур Штиль
Бензорезы Штиль
Расходные материалы Штиль
Акции
Покупателю
Сервис
Доставка
Контакты
Главная страница
Каталог запчастей
Каталог запчастей STIHL (запчасти по России и СПБ) ремонт, запчасти, сервисное обслуживание.
Бензопила Stihl запчасти ремонт, запчасти, сервисное обслуживание.
MS 194 C-E | Бензопила STIHL | Запчасти ремонт, запчасти, сервисное обслуживание.
12 | Средства для ухода | Бензиномоторные пилы MS 194 C | MS 194 C-E STIHL | Запчасти по России | Ремонт ремонт, запчасти, сервисное обслуживание.
Назад
12 | Средства для ухода | Бензиномоторные пилы MS 194 C | MS 194 C-E STIHL | Запчасти по России | Ремонт
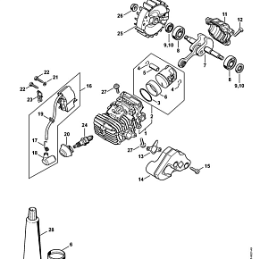
1 | Цилиндр с поршнем - Система зажигания | Бензиномоторные пилы MS 194 C | MS 194 C-E STIHL | Запчасти по России | Ремонт
Увеличить
2 | Картер двигателя | Бензиномоторные пилы MS 194 C | MS 194 C-E STIHL | Запчасти по России | Ремонт
Увеличить
3 | Mасляный насос - Муфта | Бензиномоторные пилы MS 194 C | MS 194 C-E STIHL | Запчасти по России | Ремонт
Увеличить
4 | Крышка цепной звёздочки | Бензиномоторные пилы MS 194 C | MS 194 C-E STIHL | Запчасти по России | Ремонт
Увеличить
5 | Пусковое устройство ErgoStart | Бензиномоторные пилы MS 194 C | MS 194 C-E STIHL | Запчасти по России | Ремонт
Увеличить
6 | Корпус рукоятки | Бензиномоторные пилы MS 194 C | MS 194 C-E STIHL | Запчасти по России | Ремонт
Увеличить
7 | Воздушный фильтр - Колено | Бензиномоторные пилы MS 194 C | MS 194 C-E STIHL | Запчасти по России | Ремонт
Увеличить
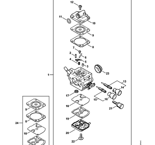
8 | Карбюратор 1137/21 | Бензиномоторные пилы MS 194 C | MS 194 C-E STIHL | Запчасти по России | Ремонт
Увеличить
9 | Инструмент - Специальные принадлежности | Бензиномоторные пилы MS 194 C | MS 194 C-E STIHL | Запчасти по России | Ремонт
Увеличить
10 | Заводской номер агрегата | Бензиномоторные пилы MS 194 C | MS 194 C-E STIHL | Запчасти по России | Ремонт
Увеличить
11 | Различные смазочные материалы и консистентные смазки | Бензиномоторные пилы MS 194 C | MS 194 C-E STIHL | Запчасти по России | Ремонт
Увеличить
12 | Средства для ухода | Бензиномоторные пилы MS 194 C | MS 194 C-E STIHL | Запчасти по России | Ремонт
Увеличить
Шина, цепь для бензопилы Штиль | MS 194 C-E | STIHL |
Увеличить
STIHL масло, смазка, канистра для бензопилы | мотопилы Штиль MS 194 C-E | Магазин - Сервис
Увеличить
Ремонт бензопилы | пилы Штиль MS 194 C-E в СПБ | Сервисная диагностика Stihl бесплатно |
Увеличить
Показать все схемы
Сервис
Официальный сервис
Доставка
Доставка по России
Запчасти
Оригинальные запчасти
Скидки
Для сервисных центров
12 | Средства для ухода | Бензиномоторные пилы MS 194 C | MS 194 C-E STIHL | Запчасти по России | Ремонт
1 | Цилиндр с поршнем - Система зажигания | Бензиномоторные пилы MS 194 C | MS 194 C-E STIHL | Запчасти по России | Ремонт
2 | Картер двигателя | Бензиномоторные пилы MS 194 C | MS 194 C-E STIHL | Запчасти по России | Ремонт
3 | Mасляный насос - Муфта | Бензиномоторные пилы MS 194 C | MS 194 C-E STIHL | Запчасти по России | Ремонт
4 | Крышка цепной звёздочки | Бензиномоторные пилы MS 194 C | MS 194 C-E STIHL | Запчасти по России | Ремонт
5 | Пусковое устройство ErgoStart | Бензиномоторные пилы MS 194 C | MS 194 C-E STIHL | Запчасти по России | Ремонт
6 | Корпус рукоятки | Бензиномоторные пилы MS 194 C | MS 194 C-E STIHL | Запчасти по России | Ремонт
7 | Воздушный фильтр - Колено | Бензиномоторные пилы MS 194 C | MS 194 C-E STIHL | Запчасти по России | Ремонт
8 | Карбюратор 1137/21 | Бензиномоторные пилы MS 194 C | MS 194 C-E STIHL | Запчасти по России | Ремонт
9 | Инструмент - Специальные принадлежности | Бензиномоторные пилы MS 194 C | MS 194 C-E STIHL | Запчасти по России | Ремонт
10 | Заводской номер агрегата | Бензиномоторные пилы MS 194 C | MS 194 C-E STIHL | Запчасти по России | Ремонт
11 | Различные смазочные материалы и консистентные смазки | Бензиномоторные пилы MS 194 C | MS 194 C-E STIHL | Запчасти по России | Ремонт
12 | Средства для ухода | Бензиномоторные пилы MS 194 C | MS 194 C-E STIHL | Запчасти по России | Ремонт
Шина, цепь для бензопилы Штиль | MS 194 C-E | STIHL |
STIHL масло, смазка, канистра для бензопилы | мотопилы Штиль MS 194 C-E | Магазин - Сервис
Ремонт бензопилы | пилы Штиль MS 194 C-E в СПБ | Сервисная диагностика Stihl бесплатно |
№
1
2
2
2
3
4
Ссылка №
Артикул
Используется штук
Наименование
Включая
Цена
1
07304117000
1
Спрей универсальный MULTISPRAY STIHL 400 мл
Используется в агрегатах
1318
i
2
00008819400
1
Чистящее средство от грязи Varioclean 500 мл STIHL
Используется в агрегатах
1439
i
2
07825168200
1
Универсальный очиститель STIHL Multiclean | для полимерных, резиновых, лакокрасочных изделий
Используется в агрегатах
1682
i
2
07825168600
1
Набор STIHL | CARE & CLEAN | для очистки и обслуживания газонокосилок
Используется в агрегатах
2889
i
3
07824201002
1
Средство для удаления смолы, 300 мл
Используется в агрегатах
1803
i
4
07825168500
1
Масло STIHL | MultiOil Bio 50 мл | действует как пропиточное масло
Используется в агрегатах
594
i