Доставка
Контакты
0
Список понравившихся изделий
Запчасти
Запчасти
0
Toggle navigation
0
Запчасти
Продукция
Газонокосилки бензиновые Штиль
Бензопилы Штиль
Бензокосы Штиль
Аэратор (скарификатор) Штиль
Электротриммеры Штиль
Газонокосилки электрические Штиль
Воздуходувы Штиль
Садовые измельчители Штиль
Электропилы Штиль
Садовые трактора Штиль
Ножницы садовые Штиль
МультиМотор ММ 56 Штиль
КомбиМотор Штиль
Опрыскиватели Штиль
Аккумуляторная техника Штиль
Культиваторы Штиль
Мойки высокого давления Штиль
Высоторезы Штиль
Газонокосилка робот Штиль
Подметальное устройство Штиль
Пылесосы Штиль
Мотобур Штиль
Бензорезы Штиль
Расходные материалы Штиль
Акции
Покупателю
Сервис
Доставка
Контакты
Главная страница
Каталог запчастей
Каталог запчастей STIHL (запчасти по России и СПБ) ремонт, запчасти, сервисное обслуживание.
Бензопила Stihl запчасти ремонт, запчасти, сервисное обслуживание.
MS 180 C-BE ErgoStart | Бензопила STIHL | Запчасти ремонт, запчасти, сервисное обслуживание.
Бензопила Stihl MS 180 C-BE Глушитель ремонт, запчасти, сервисное обслуживание.
Назад
Бензопила Stihl MS 180 C-BE Глушитель
Бензопила Stihl MS 180 C-BE Картер двигателя
Увеличить
Бензопила Stihl MS 180 C-BE Цилиндр - поршневая группа
Увеличить
Бензопила Stihl MS 180 C-BE Глушитель
Увеличить
Бензопила Stihl MS 180 C-BE Пусковое устройство ErgoStart
Увеличить
Бензопила Stihl MS 180 C-BE Система зажигания - Антивибрационная система
Увеличить
Бензопила Stihl MS 180 C-BE Устройство для защиты рук - Тормоз пильной цепи
Увеличить
Бензопила Stihl MS 180 C-BE Быстродействующее натяжное устройство цепи
Увеличить
Бензопила Stihl MS 180 C-BE Воздушный фильтр - Кожух
Увеличить
Бензопила Stihl MS 180 C-BE Карбюратор C1Q-S57, C1Q-S57, C1Q-S264
Увеличить
Бензопила Stihl MS 180 C-BE Карбюратор C1Q-S152
Увеличить
Бензопила Stihl MS 180 C-BE Карбюратор C1Q-S137, C1Q-S137 BR
Увеличить
Бензопила Stihl MS 180 C-BE Рама рукоятки - Инструмент
Увеличить
Бензопила Штиль MS 180 C шина цепь
Увеличить
STIHL масло, смазка, канистра для бензопилы | мотопилы Штиль MS 180 C-BE | Магазин - Сервис
Увеличить
Ремонт бензопилы | пилы Штиль MS 180 C-BE ErgoStart в СПБ | Сервисная диагностика Stihl бесплатно |
Увеличить
Заточка цепи | для бензопилы Штиль MS 180 C-BE ErgoStart в СПБ | При клиенте Stihl |
Увеличить
Показать все схемы
Сервис
Официальный сервис
Доставка
Доставка по России
Запчасти
Оригинальные запчасти
Скидки
Для сервисных центров
Бензопила Stihl MS 180 C-BE Глушитель
Бензопила Stihl MS 180 C-BE Картер двигателя
Бензопила Stihl MS 180 C-BE Цилиндр - поршневая группа
Бензопила Stihl MS 180 C-BE Глушитель
Бензопила Stihl MS 180 C-BE Пусковое устройство ErgoStart
Бензопила Stihl MS 180 C-BE Система зажигания - Антивибрационная система
Бензопила Stihl MS 180 C-BE Устройство для защиты рук - Тормоз пильной цепи
Бензопила Stihl MS 180 C-BE Быстродействующее натяжное устройство цепи
Бензопила Stihl MS 180 C-BE Воздушный фильтр - Кожух
Бензопила Stihl MS 180 C-BE Карбюратор C1Q-S57, C1Q-S57, C1Q-S264
Бензопила Stihl MS 180 C-BE Карбюратор C1Q-S152
Бензопила Stihl MS 180 C-BE Карбюратор C1Q-S137, C1Q-S137 BR
Бензопила Stihl MS 180 C-BE Рама рукоятки - Инструмент
Бензопила Штиль MS 180 C шина цепь
STIHL масло, смазка, канистра для бензопилы | мотопилы Штиль MS 180 C-BE | Магазин - Сервис
Ремонт бензопилы | пилы Штиль MS 180 C-BE ErgoStart в СПБ | Сервисная диагностика Stihl бесплатно |
Заточка цепи | для бензопилы Штиль MS 180 C-BE ErgoStart в СПБ | При клиенте Stihl |
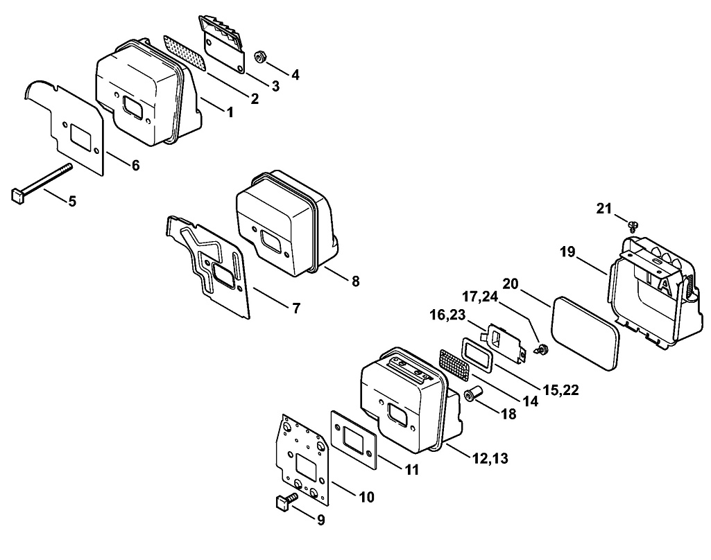
№
1
3
4
5
6
7
Ссылка №
Артикул
Используется штук
Наименование
Включая
Цена
1
11301400600
1
Глушитель STIHL
Используется в агрегатах
4159
i
3
11301452900
1
Крышка глушителя
Используется в агрегатах
1867
i
4
92162630700
2
Шестигранная гайка М5
Используется в агрегатах
106
i
Добавить в корзину
В наличии 3 шт.
Обновлено 24.04.2026 (10:17)
5
11231481201
2
Винт М5 х 65
Используется в агрегатах
257
i
6
11301413200
1
Охлаждающий лист
Используется в агрегатах
1915
i
7
11301413205
1
Охлаждающий лист
Используется в агрегатах
1284
i