Назад

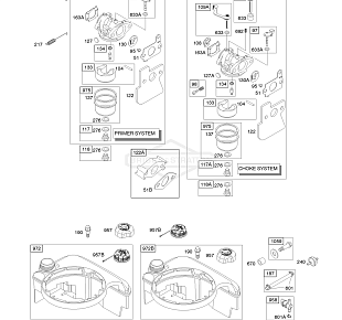
1 | 121602-0296-E1 | A - Воздушный фильтр, выхлопная система | Двигатель BRIGGS & STRATTON | Запчасти по России | Ремонт

Ссылка № АртикулИспользуется штук Наименование Включая Цена
163 691894 864 i
259 691189 1074 i
300 692275 3763 i
300A 692276

Недоступен к заказу

300C 692275 3763 i
300B 699769 10926 i
346 690661 911 i
425A 690244 1401 i
443B 690255 1331 i
445A 697029 4039 i
529 692937 1460 i
613 691108 934 i
В наличии 5 шт.
Обновлено 24.04.2026 (10:18)
613A 691140 814 i
676 397931 1541 i
676A 393756 1320 i
676B 396548 2043 i
676C 497682 1320 i
676D 697915 2720 i
677 690661 911 i
832 691466 7319 i
832A 692984

Недоступен к заказу

832C 695593 3881 i
836 691147 911 i
836A 691108 934 i
В наличии 5 шт.
Обновлено 24.04.2026 (10:18)
836B 692198 993 i
883 691893 1121 i
966B 690243 7777 i
967A 273356S 1553 i
968A 691342 6199 i
968B 692435 5323 i
976 694395 1121 i
В наличии 3 шт.
Обновлено 24.04.2026 (10:16)
994 692957 2901 i
994A 398067 4129 i