Назад

3 | 121602-0149-E1 | C - Тормоз, система управления, пружина регулятора, зажигание | Двигатель BRIGGS & STRATTON | Запчасти по России | Ремонт

Ссылка № АртикулИспользуется штук Наименование Включая Цена
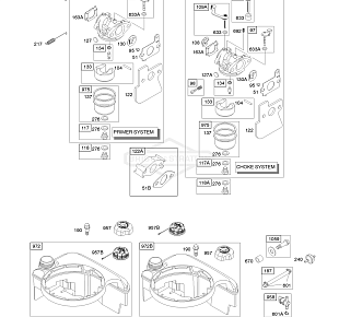
51 692668 1191 i
51A 697735 1144 i
51B 692555 1191 i
122 692799 3934 i
188 693168 1270 i
202 691303 1540 i
209A 692906 1716 i
211 692434 1810 i
В наличии 1 шт.
Обновлено 24.04.2026 (10:09)
222C 792397

Недоступен к заказу

222C 692618 7588 i
222E 697614 6140 i
222J 697614 6140 i
222G 792399

Недоступен к заказу

222J 792404 902 i
222G 692615

Недоступен к заказу

227 691467 2857 i
236 691826 1004 i
265 690798 1109 i
265A 691024 934 i
267 691044 934 i
268 691025 4982 i
269 26634 2635 i
270 691027 2102 i
271 691028 10214 i
333 590454 11393 i
В наличии 1 шт.
Обновлено 24.04.2026 (10:08)
334 691061 911 i
341 690368 947 i
347 691396 3631 i
356 692390 838 i
356A 499690 1299 i
356B 692151 1803 i
356C 693010 1413 i
356D 695283 1985 i
404 690272 806 i
472 693809 1737 i
474 691991 16762 i
493 692877 872 i
505 691251 814 i
532 692851 1170 i
562 691119 1016 i
564A 693808 1270 i
578 398153 2463 i
604A 693807 3670 i
615 690340 1004 i
616 698801 1938 i
621 692310 1436 i
745 691648 934 i
789 792685 6269 i
789 691372 4938 i
789A 690790 4483 i
789A 696546 4343 i
843 691884 934 i
851 493880S 888 i
В наличии 15 шт.
Обновлено 24.04.2026 (10:20)
910 691094 3386 i
922 691831 2125 i
922A 692135 1530 i
923 796387 4888 i
923A 796136 2942 i
935 499421 6082 i
990 695951 2218 i
1119 692979 934 i
1160 690345 876 i