Назад

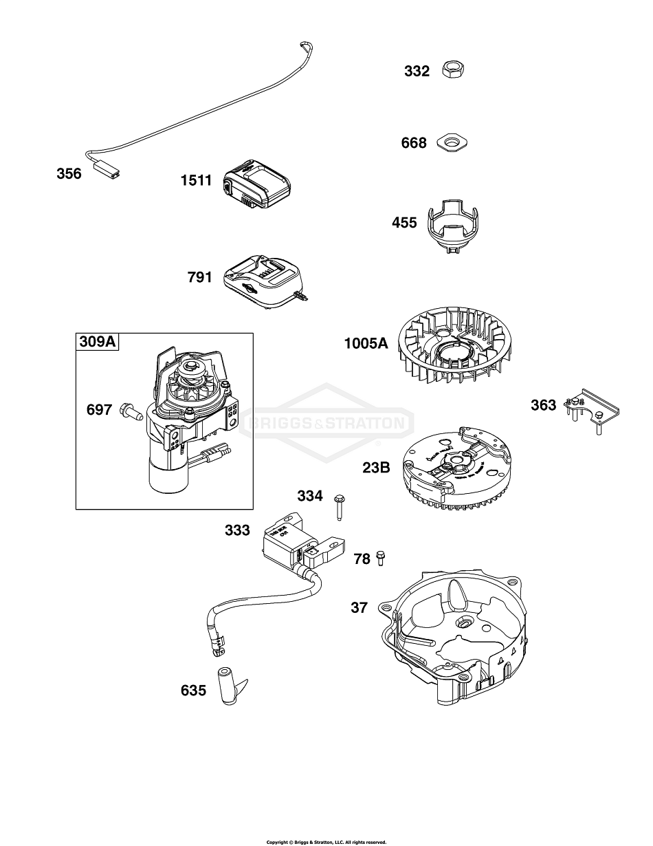
10 | 104M0B-0123-H5 | J - ГРУППА МАХОВИКА, СИСТЕМЫ ЗАЖИГАНИЯ И СТАРТЕРА | Двигатель BRIGGS & STRATTON | Запчасти по России | Ремонт

Ссылка № АртикулИспользуется штук Наименование Включая Цена
23B 595183 19143 i
37 595188 7634 i
78 793480 934 i
309A 84005205 22108 i
309A 84002163 18449 i
332 690662 1390 i
333 84005272 8860 i
334 691061 911 i
356 594509 713 i
363 19619 13319 i
455 593960 1553 i
В наличии 1 шт.
Обновлено 24.04.2026 (10:08)
635 692076 1133 i
668 590546 806 i
697 84004686 514 i
697 691127 934 i
791 593561

Недоступен к заказу

791 593562 9864 i
791 593576 9864 i
791 595887

Недоступен к заказу

1005A 595182 3397 i
1511 597187

Недоступен к заказу

1511 597189 15631 i
В наличии 26 шт.
Обновлено 24.04.2026 (10:20)