1 | Картер двигателя | MS 251 C-BE | Бензопила STIHL | Запчасти по России | Ремонт
2 | Цилиндр | MS 251 C-BE | Бензопила STIHL | Запчасти по России | Ремонт
3 | Шумоглушитель | MS 251 C-BE | Бензопила STIHL | Запчасти по России | Ремонт
4 | Mасляный насос - Муфта | MS 251 C-BE | Бензопила STIHL | Запчасти по России | Ремонт
5 | Тормоз пильной цепи | MS 251 C-BE | Бензопила STIHL | Запчасти по России | Ремонт
6 | Натяжное устройство цепи | MS 251 C-BE | Бензопила STIHL | Запчасти по России | Ремонт
7 | Система зажигания - Кабельный жгут | MS 251 C-BE | Бензопила STIHL | Запчасти по России | Ремонт
8 | Пусковое устройство - Приспособление для защиты рук | MS 251 C-BE | Бензопила STIHL | Запчасти по России | Ремонт
9 | Корпус топливного бака | MS 251 C-BE | Бензопила STIHL | Запчасти по России | Ремонт
10 | Антивибрационная система - Трубчатая рукоятка | MS 251 C-BE | Бензопила STIHL | Запчасти по России | Ремонт
11 | Кожух, Воздухопровод | MS 251 C-BE | Бензопила STIHL | Запчасти по России | Ремонт
12 | Воздушный фильтр | MS 251 C-BE | Бензопила STIHL | Запчасти по России | Ремонт
13 | Карбюратор | MS 251 C-BE | Бензопила STIHL | Запчасти по России | Ремонт
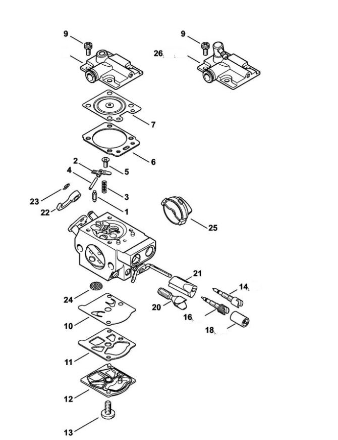
14 | Карбюратор WTF-2, WTF-4, WTF-8, WTF-9 (54.2013) | MS 251 C-BE | Бензопила STIHL | Запчасти по России | Ремонт
15 | Устройство управления дроссельной заслонкой | MS 251 C-BE | Бензопила STIHL | Запчасти по России | Ремонт
16 | Инструмент - Принадлежности | MS 251 C-BE | Бензопила STIHL | Запчасти по России | Ремонт
17 | Лазер 2-in-1 | MS 251 C-BE | Бензопила STIHL | Запчасти по России | Ремонт
18 | Заводской номер агрегата | MS 251 C-BE | Бензопила STIHL | Запчасти по России | Ремонт
19 | Smart Connector | MS 251 C-BE | Бензопила STIHL | Запчасти по России | Ремонт
20 | Различные смазочные материалы и консистентные смазки | MS 251 C-BE | Бензопила STIHL | Запчасти по России | Ремонт
21 | Средства для ухода | MS 251 C-BE | Бензопила STIHL | Запчасти по России | Ремонт
Шина, цепь для бензопилы Штиль | MS 251 C-BE | STIHL |
STIHL масло, смазка, канистра для бензопилы | мотопилы Штиль MS 251 C-BE | Магазин - Сервис
Ремонт бензопилы | пилы Штиль MS 251 в СПБ | Сервисная диагностика Stihl бесплатно |
Заточка цепи | для бензопилы Штиль MS 251 в СПБ | Сервисная диагностика Stihl бесплатно |