1 | Картер двигателя ErgoStart | MS 211 C-BE ErgoStart | Бензопила STIHL | Запчасти по России | Сервисное обслуживание
2 | Цилиндр - Шумоглушитель | MS 211 C-BE ErgoStart | Бензопила STIHL | Запчасти по России | Сервисное обслуживание
3 | Пусковое устройство ErgoStart | MS 211 C-BE ErgoStart | Бензопила STIHL | Запчасти по России | Сервисное обслуживание
4 | Система зажигания MS 211 C-BE; MS 211 C-BE Z | MS 211 C-BE ErgoStart | Бензопила STIHL | Запчасти по России | Сервисное обслуживание
5 | Устройство для защиты рук - Тормоз пильной цепи MS 211 C-BE | MS 211 C-BE ErgoStart | Бензопила STIHL | Запчасти по России | Сервисное обслуживание
6 | Быстродействующее натяжное устройство цепи MS 211 C-BE; MS 211 C-BE Z | MS 211 C-BE ErgoStart | Бензопила STIHL | Запчасти по России | Сервисное обслуживание
7 | Воздушный фильтр - Колено MS 211 C-BE | MS 211 C-BE ErgoStart | Бензопила STIHL | Запчасти по России | Сервисное обслуживание
8 | Карбюратор 1139/25 | MS 211 C-BE ErgoStart | Бензопила STIHL | Запчасти по России | Сервисное обслуживание
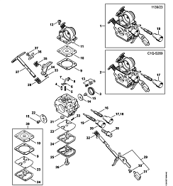
9 | Карбюратор 1139/23; C1Q-S269 | MS 211 C-BE ErgoStart | Бензопила STIHL | Запчасти по России | Сервисное обслуживание
10 | Карбюратор C1Q-S120 (27.2013) | MS 211 C-BE ErgoStart | Бензопила STIHL | Запчасти по России | Сервисное обслуживание
11 | Рама рукоятки - Кожух MS 211 C-BE | MS 211 C-BE ErgoStart | Бензопила STIHL | Запчасти по России | Сервисное обслуживание
12 | Инструмент - Принадлежности | MS 211 C-BE ErgoStart | Бензопила STIHL | Запчасти по России | Сервисное обслуживание
13 | Лазер 2-in-1 | MS 211 C-BE ErgoStart | Бензопила STIHL | Запчасти по России | Сервисное обслуживание
14 | Заводской номер агрегата | MS 211 C-BE ErgoStart | Бензопила STIHL | Запчасти по России | Сервисное обслуживание
15 | Момент затяжки | MS 211 C-BE ErgoStart | Бензопила STIHL | Запчасти по России | Сервисное обслуживание
16 | Момент затяжки | MS 211 C-BE ErgoStart | Бензопила STIHL | Запчасти по России | Сервисное обслуживание
17 | Средства для ухода | MS 211 C-BE ErgoStart | Бензопила STIHL | Запчасти по России | Сервисное обслуживание
Шина, цепь для бензопилы Штиль | MS 211 C-BE | STIHL |
STIHL масло, смазка, канистра для бензопилы | мотопилы Штиль MS 211 C-BE | Магазин - Сервис
Ремонт бензопилы | пилы Штиль MS 211 C-BE в СПБ | Сервисная диагностика Stihl бесплатно |
Заточка цепи | для бензопилы Штиль MS 211 C-BE в СПБ | Сервисная диагностика Stihl бесплатно |