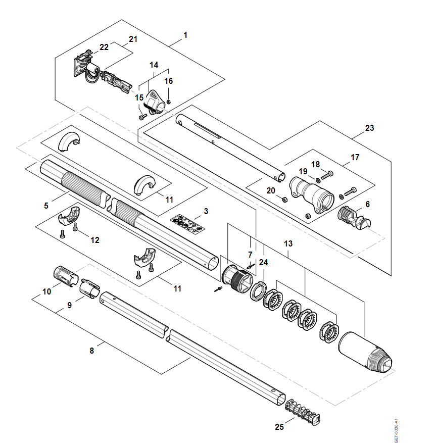
1 | Корпус рукоятки - Защитное прикрытие ⇥ до серийного номера 443381483 | HLA 86 | Аккумуляторные секаторы STIHL | Запчасти по России | Сервисное обслуживание
2 | Корпус рукоятки - Защитное прикрытие ⇤ после серийного номера 443397592 | HLA 86 | Аккумуляторные секаторы STIHL | Запчасти по России | Сервисное обслуживание
3 | Хвостовик | HLA 86 | Аккумуляторные секаторы STIHL | Запчасти по России | Сервисное обслуживание
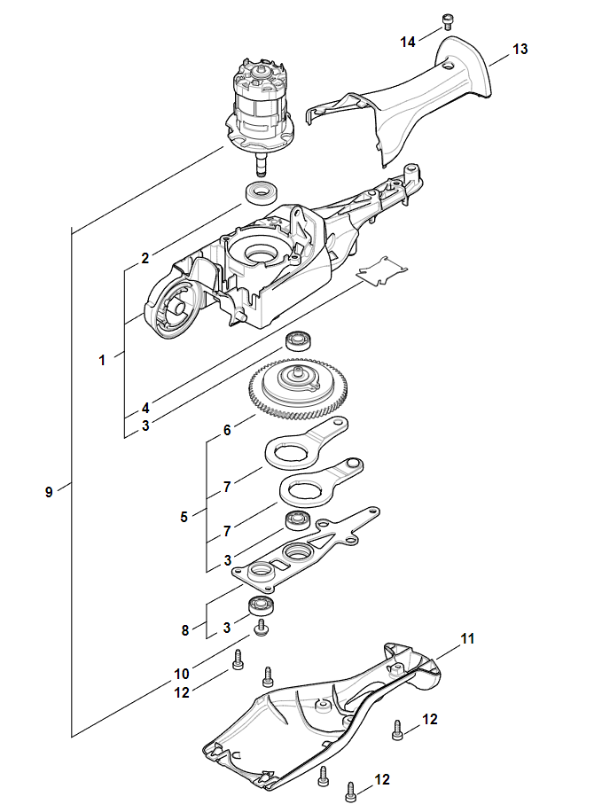
4 | Картер двигателя, Электронный модуль | HLA 86 | Аккумуляторные секаторы STIHL | Запчасти по России | Сервисное обслуживание
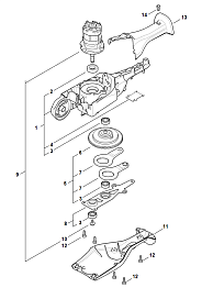
5 | Передача- Электродвигатель | HLA 86 | Аккумуляторные секаторы STIHL | Запчасти по России | Сервисное обслуживание
6 | Режущее устройство | HLA 86 | Аккумуляторные секаторы STIHL | Запчасти по России | Сервисное обслуживание
7 | Заводской номер агрегата | HLA 86 | Аккумуляторные секаторы STIHL | Запчасти по России | Сервисное обслуживание
8 | Различные смазочные материалы и консистентные смазки | HLA 86 | Аккумуляторные секаторы STIHL | Запчасти по России | Сервисное обслуживание
9 | Средства для ухода | HLA 86 | Аккумуляторные секаторы STIHL | Запчасти по России | Сервисное обслуживание