Шина цепь для бензопилы Штиль MS 462 C-M
1 | Картер | MS 462 C-M M-Tronic| Бензопила STIHL | Запчасти по России | Сервисное обслуживание
2 | Картер | MS 462 C-M M-Tronic| Бензопила STIHL | Запчасти по России | Сервисное обслуживание
3 | Цилиндр - Шумоглушитель | MS 462 C-M M-Tronic| Бензопила STIHL | Запчасти по России | Сервисное обслуживание
4 | Цилиндр - Шумоглушитель | MS 462 C-M M-Tronic| Бензопила STIHL | Запчасти по России | Сервисное обслуживание
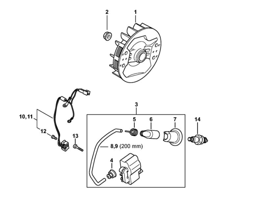
5 | Mасляный насос - Муфта | MS 462 C-M M-Tronic| Бензопила STIHL | Запчасти по России | Сервисное обслуживание
6 | Тормоз пильной цепи, Натяжное устройство цепи | MS 462 C-M M-Tronic| Бензопила STIHL | Запчасти по России | Сервисное обслуживание
7 | Крышка цепной звёздочки | MS 462 C-M M-Tronic| Бензопила STIHL | Запчасти по России | Сервисное обслуживание
8 | Система зажигания M-Tronic | MS 462 C-M M-Tronic| Бензопила STIHL | Запчасти по России | Сервисное обслуживание
9 | Пусковое устройство M-Tronic | MS 462 C-M M-Tronic| Бензопила STIHL | Запчасти по России | Сервисное обслуживание
10 | Корпус топливного бака | MS 462 C-M M-Tronic| Бензопила STIHL | Запчасти по России | Сервисное обслуживание
11 | Устройство управления дроссельной заслонкой M-Tronic | MS 462 C-M M-Tronic| Бензопила STIHL | Запчасти по России | Сервисное обслуживание
12 | Воздушный фильтр - Кожух M-Tronic | MS 462 C-M M-Tronic| Бензопила STIHL | Запчасти по России | Сервисное обслуживание
13 | Карбюратор 1142/03 | MS 462 C-M M-Tronic| Бензопила STIHL | Запчасти по России | Сервисное обслуживание
14 | Карбюратор 1142/07 | MS 462 C-M M-Tronic| Бензопила STIHL | Запчасти по России | Сервисное обслуживание
15 | Карбюратор 1142/01 | MS 462 C-M M-Tronic| Бензопила STIHL | Запчасти по России | Сервисное обслуживание
16 | Антивибрационная система | MS 462 C-M M-Tronic| Бензопила STIHL | Запчасти по России | Сервисное обслуживание
17 | Трубчатая рукоятка | MS 462 C-M M-Tronic| Бензопила STIHL | Запчасти по России | Сервисное обслуживание
18 | Инструмент - Специальные принадлежности | MS 462 C-M M-Tronic| Бензопила STIHL | Запчасти по России | Сервисное обслуживание
19 | Заводской номер агрегата | MS 462 C-M M-Tronic| Бензопила STIHL | Запчасти по России | Сервисное обслуживание
20 | Момент затяжки | MS 462 C-M M-Tronic| Бензопила STIHL | Запчасти по России | Сервисное обслуживание
21 | Момент затяжки | MS 462 C-M M-Tronic| Бензопила STIHL | Запчасти по России | Сервисное обслуживание
STIHL масло, смазка, канистра для бензопилы | мотопилы Штиль MS 462 C-M M-Tronic | Магазин - Сервис
Ремонт бензопилы | пилы Штиль MS 462 C-M M-Tronic в СПБ | Сервисная диагностика Stihl бесплатно |