Шина цепь для бензопилы Штиль MS 362
1 | Картер | MS 362 | Бензопила STIHL | Запчасти по России | Сервисное обслуживание
2 | Цилиндр - Шумоглушитель | MS 362 | Бензопила STIHL | Запчасти по России | Сервисное обслуживание
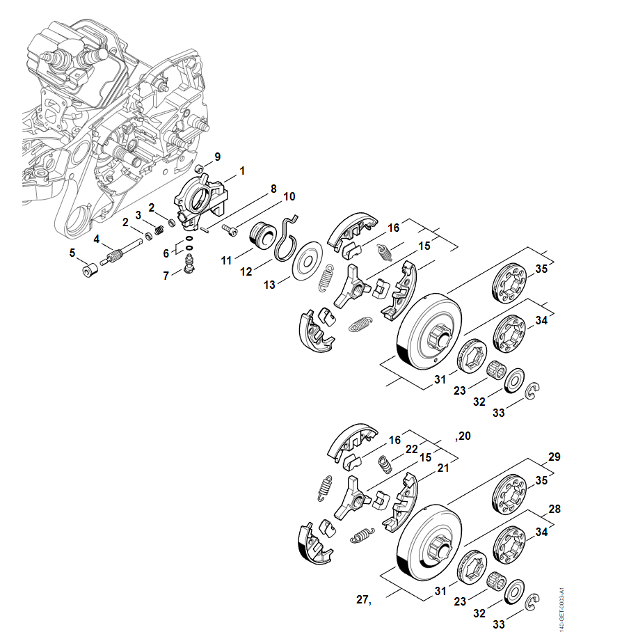
3 | Mасляный насос - Муфта | MS 362 | Бензопила STIHL | Запчасти по России | Сервисное обслуживание
4 | Тормоз пильной цепи | MS 362 | Бензопила STIHL | Запчасти по России | Сервисное обслуживание
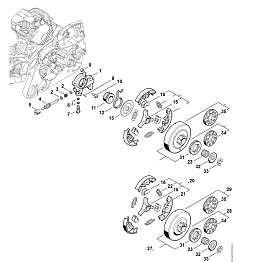
5 | Натяжное устройство цепи | MS 362 | Бензопила STIHL | Запчасти по России | Сервисное обслуживание
6 | Система зажигания, маховик | MS 362 | Бензопила STIHL | Запчасти по России | Сервисное обслуживание
7 | Система зажигания (14.2017) | MS 362 | Бензопила STIHL | Запчасти по России | Сервисное обслуживание
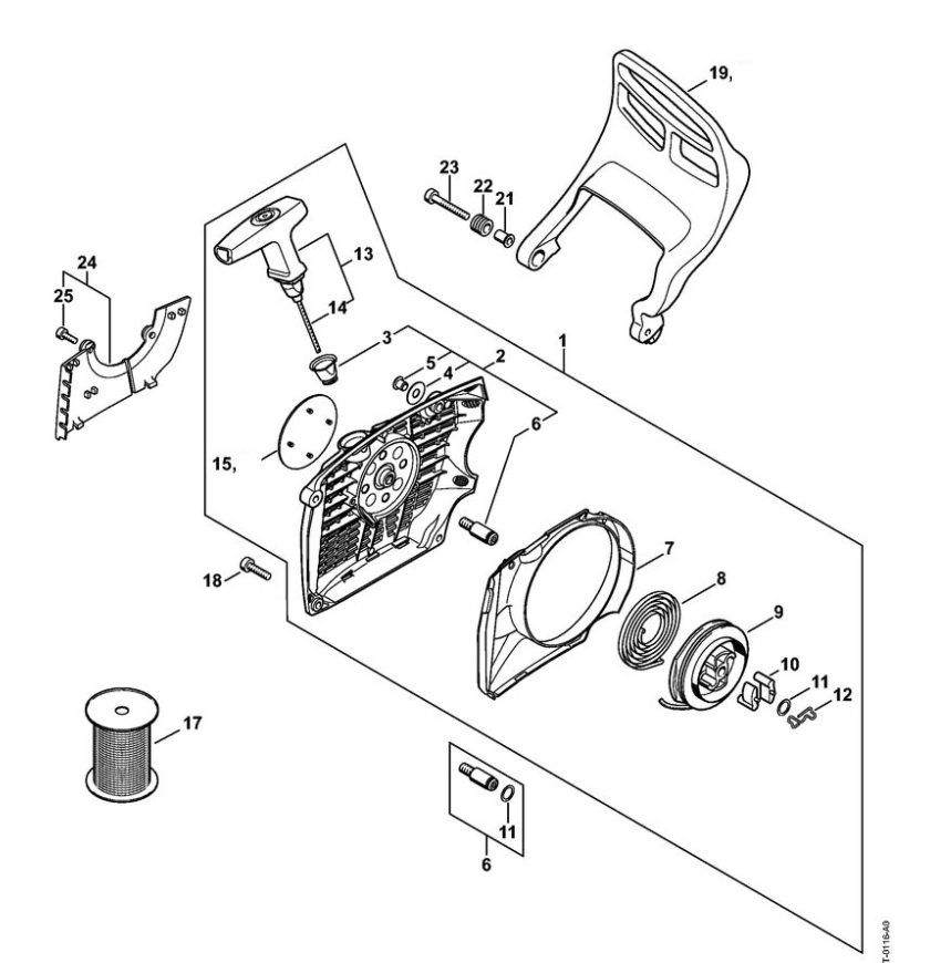
8 | Пусковое устройство - Приспособление для защиты рук | MS 362 | Бензопила STIHL | Запчасти по России | Сервисное обслуживание
9 | Корпус топливного бака | MS 362 | Бензопила STIHL | Запчасти по России | Сервисное обслуживание
10 | Антивибрационная система - Трубчатая рукоятка | MS 362 | Бензопила STIHL | Запчасти по России | Сервисное обслуживание
11 | Кронштейн карбюратора | MS 362 | Бензопила STIHL | Запчасти по России | Сервисное обслуживание
12 | Воздушный фильтр - Кожух | MS 362 | Бензопила STIHL | Запчасти по России | Сервисное обслуживание
13 | Воздушный фильтр - Кожух (27.2015),(26.2015),(18.2013),(28.2012) | MS 362 | Бензопила STIHL | Запчасти по России | Сервисное обслуживание
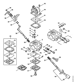
14 | Карбюратор WTE-8, WTE-18, WTE-20 | MS 362 | Бензопила STIHL | Запчасти по России | Сервисное обслуживание
15 | Устройство управления дроссельной заслонкой | MS 362 | Бензопила STIHL | Запчасти по России | Сервисное обслуживание
16 | Инструмент - Специальные принадлежности | MS 362 | Бензопила STIHL | Запчасти по России | Сервисное обслуживание
17 | Заводской номер агрегата | MS 362 | Бензопила STIHL | Запчасти по России | Сервисное обслуживание
18 | Smart Connector | MS 362 | Бензопила STIHL | Запчасти по России | Сервисное обслуживание
19 | Различные смазочные материалы и консистентные смазки | MS 362 | Бензопила STIHL | Запчасти по России | Сервисное обслуживание
20 | Средства для ухода | MS 362 | Бензопила STIHL | Запчасти по России | Сервисное обслуживание
STIHL масло, смазка, канистра для бензопилы | мотопилы Штиль MS 362 | Магазин - Сервис
Ремонт бензопилы | пилы Штиль MS 362 в СПБ | Сервисная диагностика Stihl бесплатно |