1 | Цилиндр с поршнем - Система зажигания | Бензиномоторные пилы MS 192 C | MS 192 C-E STIHL | Запчасти по России | Ремонт
2 | Картер двигателя | Бензиномоторные пилы MS 192 C | MS 192 C-E STIHL | Запчасти по России | Ремонт
3 | Mасляный насос - Муфта | Бензиномоторные пилы MS 192 C | MS 192 C-E STIHL | Запчасти по России | Ремонт
4 | Крышка цепной звёздочки | Бензиномоторные пилы MS 192 C | MS 192 C-E STIHL | Запчасти по России | Ремонт
5 | Пусковое устройство | Бензиномоторные пилы MS 192 C | MS 192 C-E STIHL | Запчасти по России | Ремонт
6 | Корпус рукоятки | Бензиномоторные пилы MS 192 C | MS 192 C-E STIHL | Запчасти по России | Ремонт
7 | Воздушный фильтр | Бензиномоторные пилы MS 192 C | MS 192 C-E STIHL | Запчасти по России | Ремонт
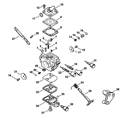
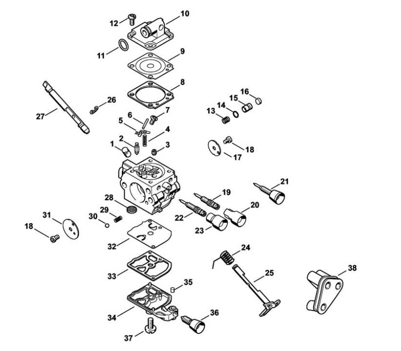
8 | Карбюратор C1Q-S259, C1Q-S124, C1Q-S124 | Бензиномоторные пилы MS 192 C | MS 192 C-E STIHL | Запчасти по России | Ремонт
9 | Инструмент - Специальные принадлежности | Бензиномоторные пилы MS 192 C | MS 192 C-E STIHL | Запчасти по России | Ремонт
10 | Заводской номер агрегата | Бензиномоторные пилы MS 192 C | MS 192 C-E STIHL | Запчасти по России | Ремонт
11 | Различные смазочные материалы и консистентные смазки | Бензиномоторные пилы MS 192 C | MS 192 C-E STIHL | Запчасти по России | Ремонт
12 | Средства для ухода | Бензиномоторные пилы MS 192 C | MS 192 C-E STIHL | Запчасти по России | Ремонт
STIHL масло, смазка, канистра для бензопилы | мотопилы Штиль MS 192 C-E | Магазин - Сервис
Ремонт бензопилы | пилы Штиль MS 192 C-E в СПБ | Сервисная диагностика Stihl бесплатно |