1 | 122Q02-0147-B1 | A - Воздушный фильтр | Двигатель BRIGGS & STRATTON | Запчасти по России | Ремонт
2 | 122Q02-0147-B1 | B - Корпус нагнетателя, крышка/щитки, маховик, ручной стартер | Двигатель BRIGGS & STRATTON | Запчасти по России | Ремонт
3 | 122Q02-0147-B1 | C - Распределительный вал, коленчатый вал, цилиндр, руководство оператора, поршень, кольца, шатун | Двигатель BRIGGS & STRATTON | Запчасти по России | Ремонт
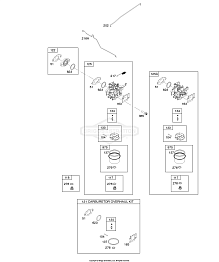
4 | 122Q02-0147-B1 | D - Карбюратор, комплект для ремонта карбюратора | Двигатель BRIGGS & STRATTON | Запчасти по России | Ремонт
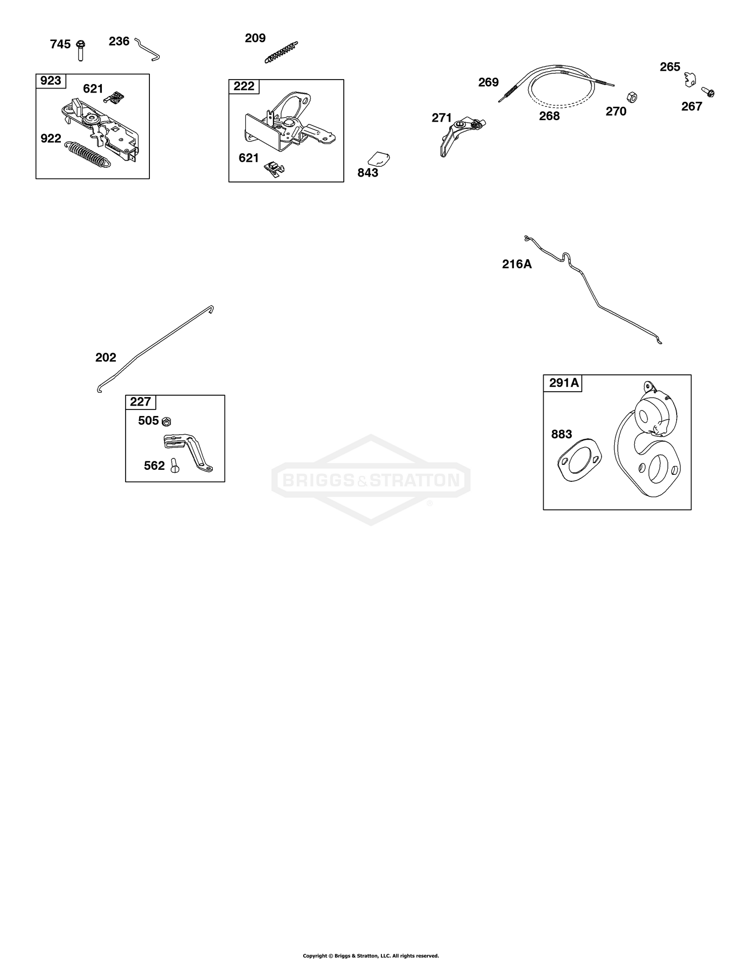
5 | 122Q02-0147-B1 | E - Система управления, пружина регулятора, термостат | Двигатель BRIGGS & STRATTON | Запчасти по России | Ремонт
6 | 122Q02-0147-B1 | F - Головка цилиндра, комплект клапанных прокладок, клапаны | Двигатель BRIGGS & STRATTON | Запчасти по России | Ремонт
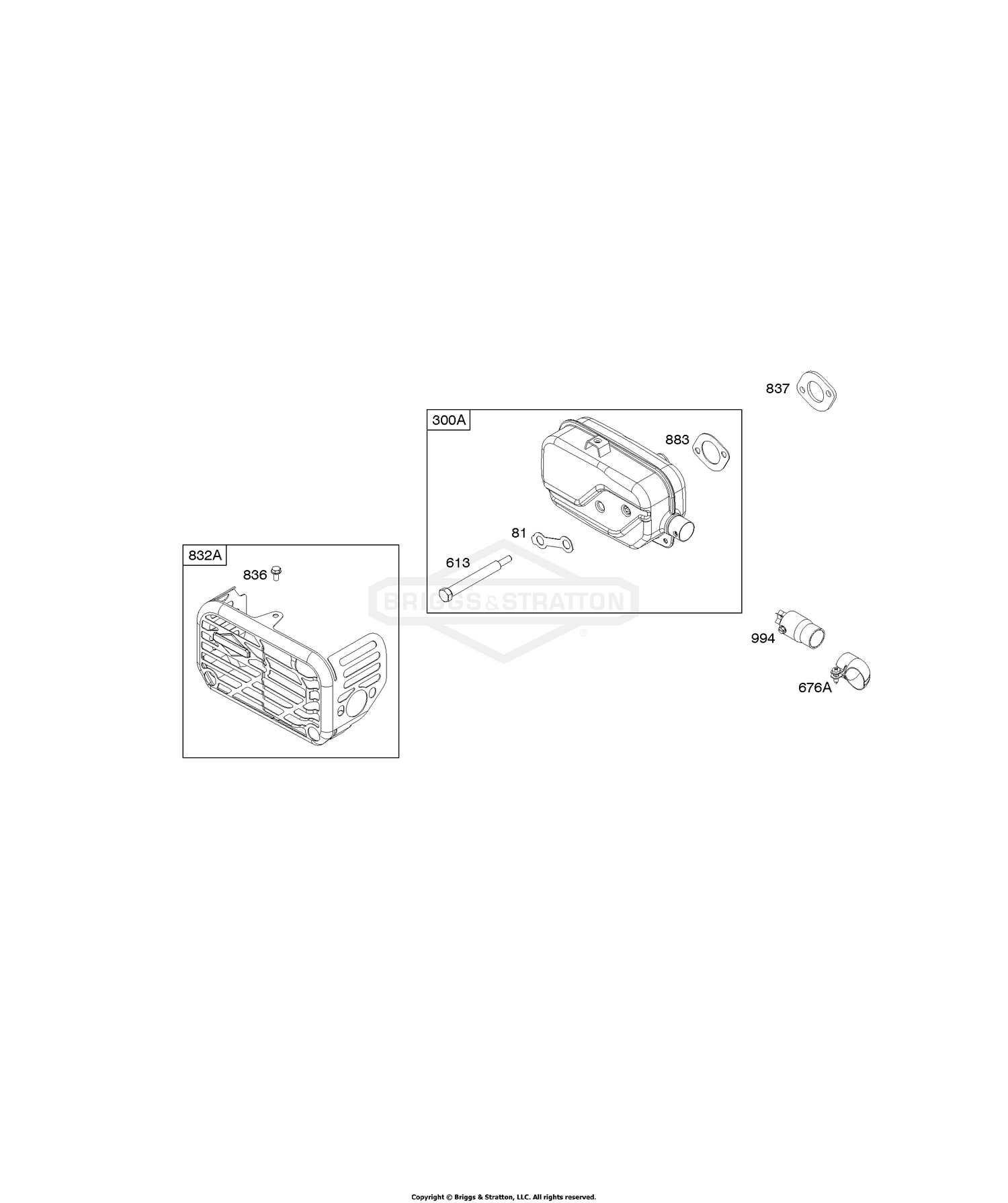
7 | 122Q02-0147-B1 | G - Выхлопная система | Двигатель BRIGGS & STRATTON | Запчасти по России | Ремонт
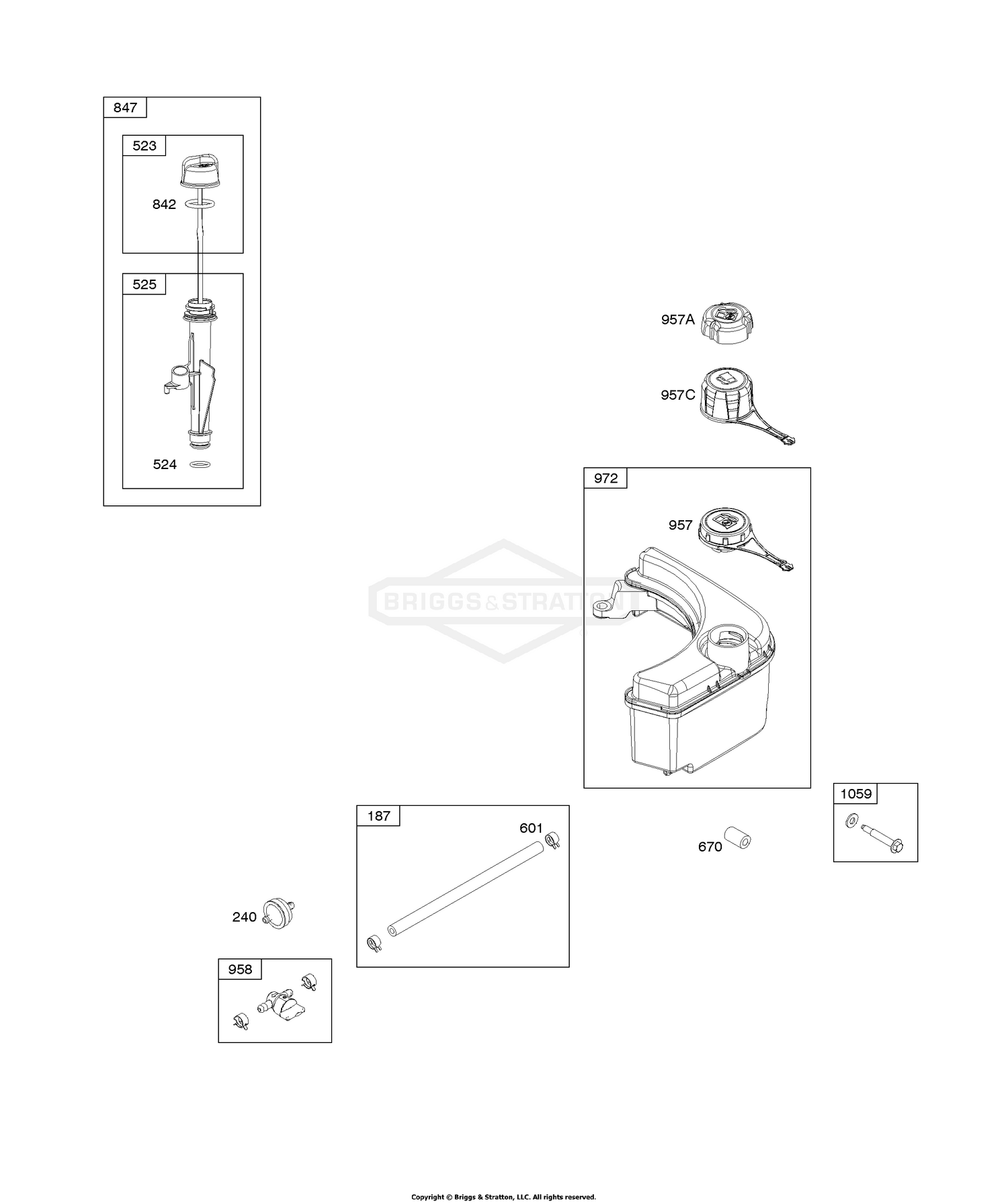
8 | 122Q02-0147-B1 | H - Топливная система, смазка | Двигатель BRIGGS & STRATTON | Запчасти по России | Ремонт
9 | 122Q02-0147-B1 | I - Комплект прокладок двигателя, поддон | Двигатель BRIGGS & STRATTON | Запчасти по России | Ремонт
10 | 122Q02-0147-B1 | J - Зажигание | Двигатель BRIGGS & STRATTON | Запчасти по России | Ремонт