1 | 103M02-0061-H1 | A - Воздушный фильтр, головка цилиндра | Двигатель BRIGGS & STRATTON | Запчасти по России | Ремонт
2 | 103M02-0061-H1 | B - Сердечник магнита, элементы управления, электрооборудование, пружина регулятора, свеча зажигания | Двигатель BRIGGS & STRATTON | Запчасти по России | Ремонт
3 | 103M02-0061-H1 | C - Сердечник магнита, элементы управления, электрооборудование, In-Start, пусковой двигатель, маховик | Двигатель BRIGGS & STRATTON | Запчасти по России | Ремонт
4 | 103M02-0061-H1 | D - Корпус вентилятора | Двигатель BRIGGS & STRATTON | Запчасти по России | Ремонт
5 | 103M02-0061-H1 | E - Кулачковый вал, коленчатый вал, цилиндр, комплект уплотнений, поршни/поршневые кольца/шатуны, сборник, табличка с предупредительными символами | Двигатель BRIGGS & STRATTON | Запчасти по России | Ремонт
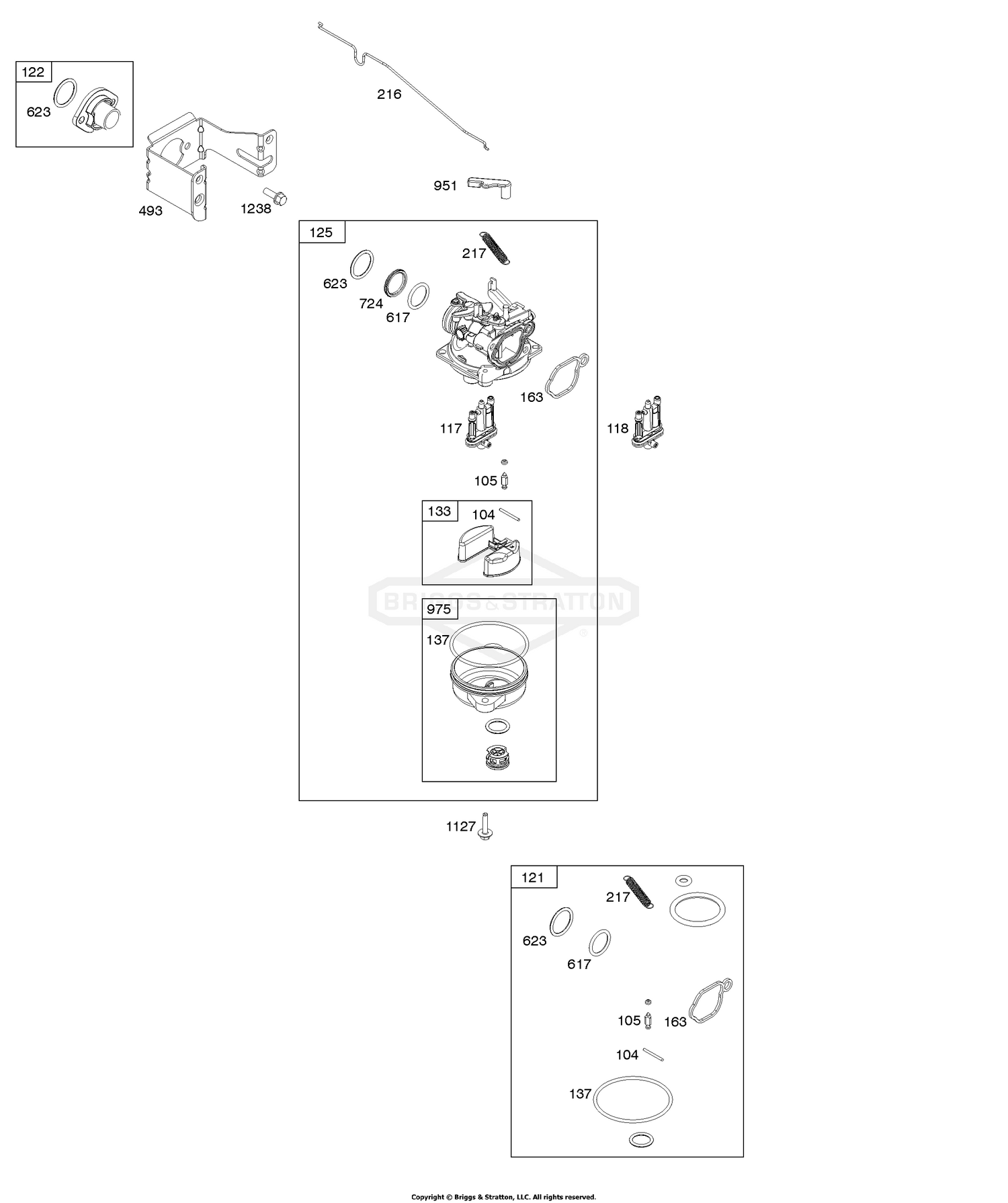
6 | 103M02-0061-H1 | F - Карбюратор | Двигатель BRIGGS & STRATTON | Запчасти по России | Ремонт
7 | 103M02-0061-H1 | G - Выхлопная система, система подачи топлива | Двигатель BRIGGS & STRATTON | Запчасти по России | Ремонт
8 | 103M02-0061-H1 | H - Маховик, ручной стартер | Двигатель BRIGGS & STRATTON | Запчасти по России | Ремонт