1 | 09T602-0126-H1 | A - Воздушный фильтр, карбюратор, выхлопная система, топливная система | Двигатель BRIGGS & STRATTON | Запчасти по России | Ремонт
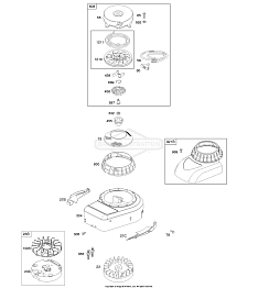
2 | 09T602-0126-H1 | B - Корпус нагнетателя/кожухи, маховик, ручной стартер | Двигатель BRIGGS & STRATTON | Запчасти по России | Ремонт
3 | 09T602-0126-H1 | C - Тормоз, система управления, пружина регулятора, зажигание | Двигатель BRIGGS & STRATTON | Запчасти по России | Ремонт
4 | 09T602-0126-H1 | D - Распределительный вал, крышка/поддон картера, коленчатый вал, комплект прокладок - двигатель, комплект прокладок - клапан, поршень/кольца/шатун | Двигатель BRIGGS & STRATTON | Запчасти по России | Ремонт
5 | 09T602-0126-H1 | E - Цилиндр, головка цилиндра, смазка | Двигатель BRIGGS & STRATTON | Запчасти по России | Ремонт