1 | 09D902-2096-B1 | A - Воздушный фильтр, система управления, выхлопная система, пружина регулятора, зажигание | Двигатель BRIGGS & STRATTON | Запчасти по России | Ремонт
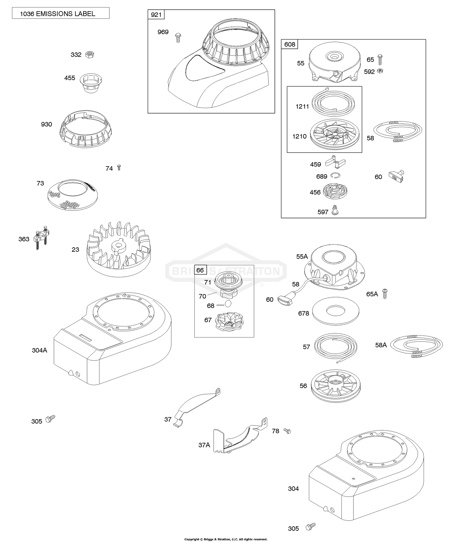
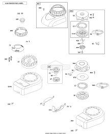
2 | 09D902-2096-B1 | B - Корпус нагнетателя/кожухи, маховик, ручной стартер | Двигатель BRIGGS & STRATTON | Запчасти по России | Ремонт
3 | 09D902-2096-B1 | C - Тормоз | Двигатель BRIGGS & STRATTON | Запчасти по России | Ремонт
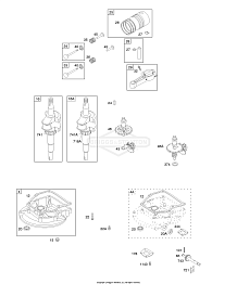
4 | 09D902-2096-B1 | D - Распределительный вал, крышка/поддон картера, коленчатый вал, поршень/кольца/шатун | Двигатель BRIGGS & STRATTON | Запчасти по России | Ремонт
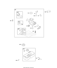
5 | 09D902-2096-B1 | E - Карбюратор, топливная система | Двигатель BRIGGS & STRATTON | Запчасти по России | Ремонт
6 | 09D902-2096-B1 | F - Цилиндр, головка цилиндра, комплект прокладок двигателя, комплект клапанных прокладок | Двигатель BRIGGS & STRATTON | Запчасти по России | Ремонт